Parker Denison P7 P6 P8 P11 P24 Hydraulic Pump
Parker Denison P7 P6 P8 P11 P24 Hydraulic Pump
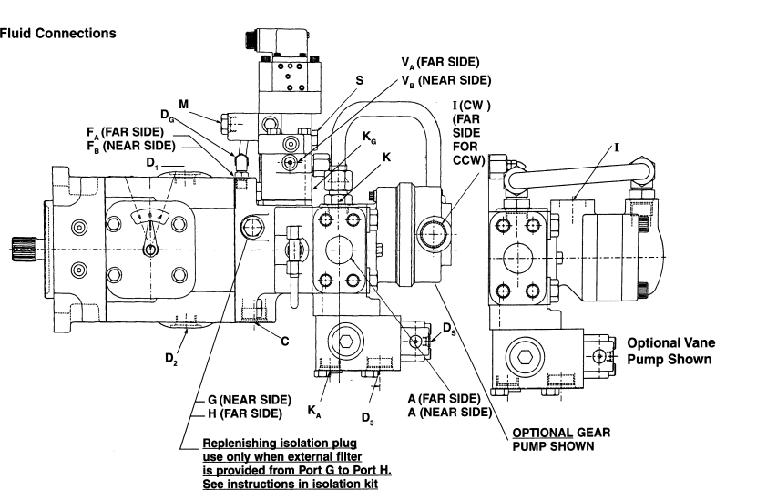
Parker Denison P7 P6 P8 P11 P24 Hydraulic Pump,variable displacement axial piston pumps for open-circuit applications,closed circuit piston pumps P6, P7, P8S

Product Description

http://www.yuanyihydraulic.comParker Denison P7 P6 P8 P11 P24 Hydraulic Pump,variable displacement axial piston pumps for open-circuit applications,closed circuit piston pumps P6, P7, P8S


1733471335723564983801282560.png

1733471384723565188965662720.png

1733385157606.png

image.png


Leave Your Message

Submit

Products Recommended